过去,人们谈癌色变,因为那时医疗不发达,得了癌症即是被判了死刑,而今人们已经能正常面对癌症,因为只有勇敢面对才能更好找到解决办法。这不,最近Google就推出了抗癌手环的概念。

Google在未知的领域的探索从未停止,前阵子才宣布投入遗传学研究,提出人类能活到500岁的愿景,现在又搞出了抗癌手环。据称这款抗癌手环的研发将使其成为能锁定并消灭癌细胞的可穿戴装置,目前已经申请了专利,最快在5年后就能将实际成果展示给大众。

奈米粒子游移(Nanoparticle Phoresis)技术的应用,实现了穿戴式装置自动破坏血液中有害物质的功能。当侦测到配戴者血液含致癌细胞,就会以无线射频脉冲、超声波脉冲、红外线、磁场等发射能量,消灭癌细胞。

这项新科技基于Google X实验室去年研发的癌症检测药丸,不仅让我们能提早发现癌细胞的产生,更能进准地进行治疗。

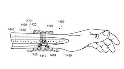
这个癌症检测手环将分为两部分。检测元件贴近手臂内侧,上面设有磁性零件,能透过吸附原理,将与标靶粒子混合的癌细胞吸附起来,以便检测分析。手环正面部分会展示出使用者目前的检测状况和结果。

由于目前该产品仍在评估中,至少需要5年时间才会被批准使用。且初期只以检测为主,无法达到治愈的功能。所以我们还是好好保重身体,静待癌症手环功能更加完善的一天。